KRACHT溢流閥SPVF40C2F1A12上海維特銳現貨有庫存
KRACHT有限公司成立于1911年,總部位于德國,至今已有超過100年的悠久歷史。KRACHT是世界著名的流體控制專家,通過其遍布全球的銷售支持、工程網絡以及生產基地,實現了全球生產和產品供應。KRACHT是一家中小型的家族企業,專業從事流體控制產品的生產、研發及銷售工作。如今,KRACHT共有員工310多名,總部位于德國韋爾多爾,另外有85名員工在匈牙利的布達佩斯為匈牙利客戶提供產品服務。KRACHT產品范圍廣泛,主要以泵系列產品著稱,包括高壓輸送泵、齒輪泵、高壓齒輪泵.齒輪馬達等。KRACHT重視人才的發展,KRACHT認為,優秀的員工才能成就優秀的企業,才能保持企業經久不衰的生命力。KRACHT提倡激情工作,激勵員工創造出創新的產品,不斷研發出新的技術。正因為如此,KRACHT產品質量不斷提高,性能也越來越好。KRACHT的全球設計中心的資源和能力可以便KRACHT與客戶在產品設計以及產品原型方面密切合作。KRACHT國際生產中心可將這些設計變為現實,并且可以為全球各地的用戶提供及時的供貨。
德國KRACHT產品主要有:KRACHT齒輪泵、KRACHT輸送泵、KRACHT流量計、KRACHT顯示器、KRACHT測量儀、KRACHT高壓齒輪泵、KRACHT齒輪馬達、KRACHT閥等。
KRACHT溢流閥SPVF40C2F1A12上海維特銳現貨有庫存

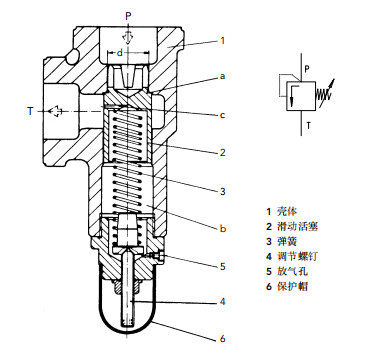
閥的構造
滑動活塞2在壓縮彈簧3作用下壓在環形區域a上。因此與泵相通的P口同與油箱相通的R口被直徑d處的密封隔離開。一旦工作壓力達到由調節螺釘4調定的壓力,滑動活塞2開始卸荷液壓油至油箱。彈簧腔b由孔c進行壓力補償。開始時,彈簧腔b一定要通過放氣孔5(六角螺釘)進行排氣。閥最好垂直安裝,使壓力調定量垂直向下。該溢流閥有4種壓力調節范圍,這是因為彈簧的壓縮比決定了每種彈簧只能覆蓋有限的壓力調節范圍。

SPV/SPVF是直動式、滑動活塞式溢流閥。連接于管路中,對低壓液壓回路的壓力進行限定。最高壓力為20(30)bar。連接口可以是SAE(3000psi)法蘭口,也可以是惠氏管螺紋口。
德國KRACHT泄壓閥SPV特征:
體積流量:40.8001/min
溫度范圍:-40.…220°C
公稱壓力:.30bar
粘度:1.2.1000mm2/s
上海維特銳實業發展有限公司,發票隨貨,服務優良,信譽保證。本公司德國設有分公司,歡迎新老客戶有歐美品牌詢價都可以隨時聯系我!
項目支持:
1,德國 KRACHT 克拉克(流量計、指示器可提供現場選型配套技術支持,齒輪泵, 閥,備件采購價格有優勢)
2,德國 VSE 威仕 (流量計提供項目選型配套,技術支持,維修)
3,另外還有很多品牌也很有優勢:
Beinlich百利泵(可提供選型)
RICKMEIER瑞克梅爾泵(可提供選型)
MEISTER流量計
KOBOLD流量計、溫度開關
ATOS液壓電磁閥、泵、壓力繼電器
EATON伊頓/VICKERS威格士泵、閥
REXRTOH力士樂液壓閥、葉片泵
HYDAC賀德克過濾器、濾芯、傳感器
PARKER派克閥、接頭、齒輪泵
WEBTEC流量計
MTS位移傳感器
AIGNEP快插接頭、氣動三聯件、氣動閥、氣缸、流體閥